Natryskiwanie płomieniowe naddźwiękowe

>> wtorek, 29 marca 2011

W metodzie natryskiwania naddźwiękowego najczęściej stosuje się wodór, propan lub propylen. Natryskiwane cząstki materiału powłokowego w palnikach naddźwiękowych osiągają prędkości od 400 do 1200 m/s. Powłoki natryskane techniką naddźwiękową mają bardzo niską porowatość i małą zawartość tlenków oraz bardzo wysoką wytrzymałość obszaru dyfuzyjnego połączenia powłoki z natryskiwanym podłożem.

Zależnie od konstrukcji palników wyróżnia się:
  • z dużymi prędkościami natryskiwanych cząstek,
  • z dużymi prędkościami cząstek i pod dużym ciśnieniem.
Natryskiwanie detonacyjne polega na wykorzystaniu energii wybuchu mieszaniny acetylenowo-tlenowej do stopienia lub nadtopienia cząstek materiału powłokowego w postaci proszku i nadania im dużej prędkości, do 800m/s.

Urządzenie do detonacyjnego natryskiwania pracuje okresowo. Składa się z długiej tulei do której wprowadza się pod ciśnieniem mieszaninę acetylenu i tlenu, bądź wodoru i tlenu oraz proszek do natryskiwania pod ciśnieniem gazu podającego. Cykl pracy palnika składa się z:

  • napełnienia komory roboczej gazową mieszaniną detonacyjną,
  • podania proszku do komory,
  • zdetonowania mieszaniny,
  • uformowania strumienia cząstek proszku i spalonych gazów,
  • przyspieszenia gazów w kierunku rozprzestrzeniania się fali detonacyjnej,
  • wypływu strumienia z komory roboczej, lotu i uderzenia cząstek w pokrywane podłoże.

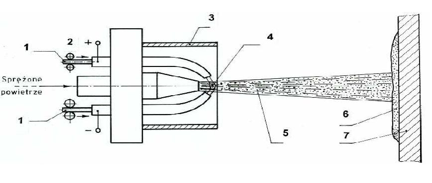
Schemat natryskiwania detonacyjnego;
1 - komora robocza,
2 - świeca zapłonowa,
3 - dozownik proszku,
4 - doprowadzenie gazu obojętnego,
5 - zawór,
6 - doprowadzenie gazu do podawania proszku,
7 - pokrywana powierzchnia,
8 - powłoka natryskana


Do mieszaniny detonacyjnej dodaje się gaz obojętny – azot, argon lub hel, do przepłukiwania komory roboczej. Detonacje mieszaniny gazów wywołuje iskra świecy zapłonowej z częstotliwością 10 ÷ 20 Hz, a seria fal detonacyjnych stapia cząstki proszku i przyspiesza je do prędkości 500 do 800 m/s. Temperatura w komorze osiąga 3200°C, ale temperatura natryskiwanego przedmiotu nie przekracza 150°C. Po każdej serii detonacji komorę przepłukuje się azotem.

Powłoki natryskane detonacyjnie mają bardzo wysoką przyczepność do podłoża, kilka razy wyższą niż w innych metodach, wskutek połączenia adhezyjnego lub dyfuzyjnego, a także silną kohezją pomiędzy cząstkami w samej powłoce oraz niską porowatość, zwykle ok. 0,5%. Grubości natryskanych powłok najczęściej osiągają 0,5 mm. Wadą tej techniki jest bardzo wysoki poziom hałasu.

Powłoki detonacyjne są stosowane w celu: zwiększenia odporności elementów maszyn i narzędzi na procesy ścierne, odporności na korozję wysokotemperaturową i erozję, odporności na udary cieplne i mechaniczne, obniżenia porowatości uprzednio naniesionych warstw, jak np. w wypadku regeneracji elementów maszyn: wałów, osi, półosi, bębnów ciągarek, prowadnic, noży, łopatek turbin, elementów pomp, form do odlewania pod ciśnieniem.

Natryskiwanie proszkowe naddźwiękowe z dużymi prędkościami (HVOF - High Velocity Oxy Fuel) polega na ciągłym spalaniu gazu palnego: propylenu, wodoru lub propanu w tlenie lub powietrzu. Mieszanina gazów jest podawana do chłodzonej wodą komory spalania pod dużym ciśnieniem, gdzie ulega spalaniu sposób ciągły. Rozprężający się płomień gazowy o temperaturze powyżej 3200°C z charakterystycznymi „udarami romboidalnymi” nagrzewa do temperatury topnienia podawany proszek pod ciśnieniem i przyspiesza go nawet do 1000 m/s. Tą metodą nakłada się powłoki z aluminium, miedzi, stopów żelaza, niklu, kobaltu, cermetali, jak Co-WC.


Natryskiwanie proszkowe naddźwiękowe z dużymi prędkościami i pod dużym ciśnieniem (HP/HVOF – High Pressure/High Velocity Oxy Fuel) przeprowadza się przy pomocy palników na paliwo płynne, najczęściej naftę lotniczą. Osiąga się w nich jeszcze większe prędkości stopionych cząstek, do 1200 m/s, przy niższej temperaturze płomienia, rzędu 2700°C, co skutkuje większą energią kinetyczną cząstek. W rezultacie powłoki mają większą jednorodność struktury, najniższą porowatość , najmniejszy udział tlenków, czas przebywania bowiem cząstek w atmosferze utleniającej wskutek ich dużej prędkości jest krótki i ponadto wobec możliwości stosowania proszków gruboziarnistych. Lepsze jest też przyleganie cząstek do siebie i do podłoża. Natryskane warstwy są więc wysokiej jakości, o gładkiej powierzchni i wysokiej wytrzymałości. W jednym przejściu można nałożyć warstwy o grubości 1 mm, a całkowitą do ok. 12 mm. 
Tą techniką można nałożyć powłoki z czystych metali: Mo, Ni, Co, Ti, Ta, stali, mieszanin, np. aluminium z grafitem, materiałów ceramicznych i ich kombinacji z metalami, np. węglików wolframu lub węglików chromu w osnowie kobaltu, niklu lub stopu Ni-Cr. Stosuje się je na części maszyn przemysłu lotniczego, kosmicznego, chemicznego i in. jak: wały, zawory i gniazda zaworowe silników, części silników odrzutowych, głównie w celu nadania wysokiej odporności na ścieranie i korozję wysokotemperaturową.

Powłoki natryskiwane metodą elektryczną łukową

Źródłem ciepła potrzebnego do stopienia materiału powłokowego w tej metodzie jest łuk elektryczny zajarzany między drutami metalu natryskiwanego, w osi wypływającego strumienia powietrza, które rozpyla i przenosi stopione cząstki na pokrywane podłoże.

Urządzenie do natryskiwania elektrycznego łukowego składa się ze źródła prądu stałego, układu sterowania, drutu elektrodowego, układu podawania drutu, źródła sprężonego powietrza oraz palnika.

Właściwy dobór parametrów: napięcia i natężenia prądu, prędkości podawania drutów, symetrycznego ustawienia prowadnic drutu w osi strumienia sprężonego powietrza, pozwalają na uzyskanie bardzo drobnych cząstek ciekłego metalu, prawie o jednakowym wymiarze, których prędkość dochodzi do 150 m/s, co przy temperaturze łuku wynoszącej ok. 6000°C, daje powłoki bardzo drobnoziarniste o dużej przyczepności do podłoża, (większej niż w metodzie natryskiwania płomieniowego), z powodu możliwości spojenia metalurgicznego ciekłych cząstek z podłożem.

Podobnie jak w innych metodach natryskiwania, bardzo ważny jest stan powierzchni pokrywanego podłoża – musi być czysta i o odpowiedniej chropowatości.
Schemat natryskiwania elektrycznego łukowego zasilanego drutem;. 1 – drut elektrodowy, 2 – rolki podają ce, 3 – osłona, 4 - łuk elektryczny, 5 – strumień z rozpylonymi cząstkami metalu, 6 – natryskana powłoka,
7 – podłoże

Podstawowym parametrem natryskiwania łukowego są: natężenie i napięcie prądu, prędkość podawania drutów, ciśnienie powietrza, średnica drutu, odległość dyszy palnika od powierzchni pokrywanego podłoża, prędkość przesuwu palnika. Optymalne parametry natryskiwania dobiera się doświadczalnie, przy czym zalecana odległość od podłoża mieści się w granicach 50 ÷ 200 mm.Metodą elektryczną łukową można natryskiwać metale w postaci drutów z aluminium, miedzi, niklu, cynku, molibdenu, brązów, mosiądzów, babbitów, nadstopów, stali stopowych. Ponieważ w łuku stapia się dwa druty, więc dobierając różne materiały można wytworzyć powłoki o specjalnych cechach. Grubości warstw w jednym przejściu mieszczą się w zakresie 0,01 ÷ 0,5 mm, przy czym możliwość natryskiwania w komorze o obniżonym ciśnieniu lub w atmosferze ochronnej czynią tę metodę konkurencyjną w stosunku do nowszej metody natryskiwania plazmowego. Natryskiwanie łukowe stosuje się m.in. do pokrywania prowadnic obrabiarek, czopów walców hutniczych, na które nanosi się stal chromową martenzytyczną.

Czytaj dalej...

Gazy w procesie spawania

>> poniedziałek, 28 marca 2011

Wodór w procesie spawania
Głównym źródłem wodoru w spoinach jest wilgoć i para wodna, które reagują z ciekłym metalem nasycając je wodorem wg ogólnej reakcji:

xMe + yH2O = MexOy + 2y

Woda w łuku elektrycznym rozkłada się na tlen i wodór, a następnie wodór dysocjuje:

H2 <=> 2H

i wnika do ciekłego metalu.

W celu ograniczenia obecności wodoru w spoinie stosuje się:
  • dobór odpowiednich nie dostarczających wodoru surowców do produkcji mas otulinowych,
  • stosowanie otulin zawierających CaF2,
  • suszenie elektrod przed spawaniem,
  • suszenie topników przed spawaniem,
  • suszenie łączonych elementów przed spawaniem.
Wodór w spoinach powoduje:

  • porowatość spoin,
  • powstawanie pustek i pęcherzy gazowych,
  • występowanie tzw. rybich oczu,
  • powstawanie pęknięć wodorowych.
Azot w procesie spawania

Azot występuje w metalach w postaci azotków: Fe4N, AlN, CrN, MoN, TiN, ZrN, lub węglikoazotków.

W ciekłym metalu azot przechodzi do roztworu, a azotki tworzą się w niższych temperaturach po skrzepnięciu metalu.

Azot w stalach nieuspokojonych i półuspokojonych powoduje obniżenie ciągliwości w skutek procesu starzenia w wyniku którego powstaje Fe4N.

W stalach odpornych na korozję, a szczególnie w stalach austenitycznych lub duplex, azot traktowany jest jako korzystny składnik stopowy stabilizujący austenit i ograniczający rozrost ziarna w temperaturach powyżej 900°C.

W procesie spawania azot do obszaru spoiny może dostać się z:

  • materiału spawanego,
  • otuliny lub topnika,
  • z powietrza w wyniku niedostatecznej ochrony obszaru spawania.
Tlen w procesie spawania

Tlen tworzy z metalami tlenki, które nie wykazują, lub prawie nie wykazują rozpuszczalności w ciekłym metalu.

Tlen tworzy z żelazem trzy związki chemiczne: FeO, Fe3O4, Fe2O3, z których każdy kolejno zawiera większą ilość tlenu. Z tych tlenków tylko FeO jest rozpuszczalny w żelazie.
 
Obecność tlenu w stali powoduje:

  • obniżenie udarności stali,
  • obniżenie odporności na korozje,
  • podwyższa temperaturę przejścia w stan kruchy.

W celu zabezpieczenia obszaru spawania przed wnikaniem tlenu stosuje się:

  • obojętne osłony gazowe (hel, argon),
  • otuliny i topniki zawierające odtleniacze takie jak: Mn, Si, Al i Ti.

Czytaj dalej...

Pęknięcia przy spawaniu

>> wtorek, 22 marca 2011

Zachodzące pod wpływem cyklu cieplnego spawania zmiany struktury oraz zmiany stanów naprężeń i odkształceń wywierają istotny wpływ na powstawanie pęknięć spawalniczych. Pęknięcia mogące powstawać w SWC złącza spawanego, których przyczyny związane są z technologią spawania, można sklasyfikować w czterech grupach:
  • pęknięcia gorące,
  • pęknięcia zimne,
  • pęknięcia lamelarne,
  • pęknięcia pod wpływem powtórnego nagrzewania.
Pęknięcia gorące
Pęknięcia gorące mogą powstawać w obszarach SWC gdzie temperatura materiału zbliżona jest do temperatury solidusu. Pęknięcia te mogą także występować w znacznie niższych temperaturach. Jako dolną granicę powstawania pęknięć gorących przyjmuje się 0.5Tm (Tm - temperatura topnienia). Powstawanie tego typu pęknięć wywołane jest poprzez ciekłe fazy występujące na granicach ziaren, przy podwyższonych temperaturach,w związku z czym materiał nie może relaksować występujących naprężeń skurczowych poprzez odkształcanie plastyczne, dochodzi do wzrostu naprężeń wywołujących pęknięcia wzdłuż niskotopliwych faz występujących na granicach ziaren.
W strefie wpływu ciepła, w pobliżu linii wtopienia, w procesie spawania materiał rodzimy zostaje podgrzany do temperatur niewiele niższych od temperatury solidus. Fazy na granicach ziaren, posiadające niższe temperatury topnienia aniżeli materiał rodzimy, mogą ulec roztopieniu i przy odpowiednich warunkach rozprzestrzeniać się w postaci błonek wzdłuż granic ziaren. Istotne znaczenie dla powstawania pęknięć gorących w SWC złącza spawanego ma obecność siarczków, tlenków, węglików oraz ich kształt i morfologia. Naprężenia rozciągające powstające w SWC złącza spawanego podczas cyklu chłodzenia mogą powodować wzrost zwilżalności granic ziaren przez fazy, które pierwotnie występowały w postaci globularnej. Dostatecznie duże naprężenia rozciągające powodują rozsuwanie się ziaren, których granice, zwilżone ciekłymi fazami, usytuowane są prostopadle do kierunku działania tych naprężeń. Powoduje to powstawanie pęknięć.

Pęknięcia zimne
Pęknięcia zimne zwane również pęknięciami wodorowymi czy też zwłocznymi, są zjawiskiem lokalnego niszczenia połączenia spawanego i powstają w trakcie stygnięcia połączenia spawanego, z reguły w zakresie temperatur od 200 do 1000C lub bezpośrednio po spawaniu, przy braku obciążeń zewnętrznych. W niektórych przypadkach pękanie zimne może zachodzić wyraźnie później po zakończeniu spawania, nawet po upływie kilkudziesięciu godzin. Powstawanie tego typu pęknięć w złączach spawanych uwarunkowane jest jednoczesnym oddziaływaniem trzech zjawisk:
  • hartowaniem się stali pod wpływem procesu spawania,
  • obecnością wodoru w spoinie i w strefie wpływu ciepła złącza spawanego,
  • obecnością naprężeń i odkształceń wynikających z procesu spawania prowadzonego w warunkach utwierdzenia.
Istnieje wiele czynników mogących mieć wpływ na powstawanie pęknięć zimnych w konstrukcjach spawanych. Do podstawowych należą:
  • właściwości fizyko-chemiczne materiału spawanego oraz materiałów dodatkowych,
  • warunki spawania,
  • warunki otoczenia,
  • powiązania konstrukcyjne złącza.
Metody zapobiegania powstawaniu pęknięciom zimnym wynikają z analizy czynników wywołujących ten typ pęknięć w złączach spawanych i polegają na:
  • ograniczaniu zawartości wodoru w spoinie i w SWC złącza spawanego,
  • oddziaływaniu na przemiany stali w SWC,
  • obniżeniu naprężeń w złączu spawanym.
Ograniczenie zawartości wodoru uzyskuje się poprzez wybór metod i materiałów dodatkowych nisko wodorowych, obróbkę cieplną (suszenie) materiałów dodatkowych przed spawaniem (elektrod otulonych, topników), wydłużenie czasu stygnięcia SWC w zakresie temperatur od 300 do 100°C.
Oddziaływanie na przemiany stali w SWC może być realizowane przez wzrost energii liniowej łuku, stosowanie podgrzewania wstępnego elementów spawanych, obróbkę cieplną po spawaniu.
Obniżenie naprężeń w złączu spawanym osiąga się przez ograniczenie utwierdzeń montażowych, ograniczenie oddziaływania połączeń już wykonanych na wykonywane oraz ograniczanie oddziaływania ciężaru własnego elementów spawanych.
W niektórych przepadkach skutecznymi sposobami są wstępne napawanie części spawanych austenitycznym lub ferrytycznym metalem (nie hartującym się przy spawaniu) lub spawanie materiałami dodatkowymi zapewniającymi uzyskanie struktury austenitycznej.

Pęknięcia lamelarne
Pęknięcia lamelarne są spowodowane obecnością pasm wtrąceń, głównie siarczków, ułożonych na przekroju blachy równolegle do kierunku walcowania. Wtrącenia te obniżają własności plastyczne blachy w kierunku jej grubości i pod wpływem naprężeń skurczowych spoin powodują w temperaturach poniżej 200°C tworzenie się pęknięć o charakterystycznym schodkowym przebiegu. W obecności wysokich naprężeń skurczowych następuje utrata kohezji na granicy wtrącenie osnowa i powstanie pustki. Mikroszczeliny utworzone na pasmowo ułożonych wtrąceniach w obecności dostatecznie wysokich naprężeń rozciągających mogą się ze sobą łączyć w kierunku poziomym. Obecność płaskich pęknięć na różnych poziomach w stosunku do powierzchni blachy powoduje silną koncentracje naprężeń w obszarach między pęknięciami, co prowadzi do ścinania materiału osnowy znajdującego się pomiędzy nimi. Tak więc płaszczyzny pęknięć równoległe do powierzchni blachy (tarasy) są łączone prostopadłymi przejściami (uskokami).
Proces pękania lamelarnego może być pogłębiony poprzez oddziaływanie wodoru dyfundującego, wprowadzonego do materiału podczas spawania, sprzyja to procesowi rozwijania mikroszczelin utworzonych na wtrąceniach niemetalicznych.
Pęknięcia lamelarne powstają głównie w połączeniach charakteryzujących się znacznym stopniem utwierdzenia w których blacha skłonna do pękania ulega odkształceniu w kierunku prostopadłym do jej powierzchni. Pęknięcia te powstają przede wszystkim w złączach teowych i krzyżowych, z jednostronnymi lub dwustronnymi spoinami czołowymi lub spoinami pachwinowymi.
Na pękanie lamelarne mają wpływ następujące czynniki:
  • całkowita zawartość wtrąceń niemetalicznych, ich rodzaj, wielkość i rozmieszczenie,
  • skład chemiczny stali,
  • poziom naprężeń poprzecznychłodzenia złącza,
  • zawartość wodoru dyfundującego.


Schemat powstawania pęknięć lamelarnych

Pęknięcia pod wpływem powtórnego nagrzewania
Pęknięcia pod wpływem powtórnego nagrzewania zwane również pęknięciami pod wpływem obróbki cieplnej, powstają w obszarze przegrzanym SWC stali niskostopowych oraz stali austenitycznych i chromowo-niklowych. Pęknięcia tego typu powstają w dwu zakresach temperaturowych:
  • w czasie nagrzewania do temperatury wyżarzania w zakresie temperatur od 200 do 300°C,
  • w zakresie temperatur wyżarzania, poniżej temperatury A1.
Pękanie elementów spawanych podczas nagrzewania do temperatury wyżarzania związane jest ze stosowaniem zbyt dużej szybkości nagrzewania tych elementów. Powstające w nagrzewanym elemencie naprężenia termiczne sumując się z naprężeniami strukturalnymi prowadzą do powstawania pęknięć. Najbardziej na pękanie podczas nagrzewania do temperatury wyżarzania narażona jest ta część SWC w której w wyniku procesu spawania powstały zarodki pęknięć gorących lub zimnych.

Pękanie elementów spawanych w zakresie temperatur wyżarzania związane jest przede wszystkim z wzrostem kruchości SWC złącza spawanego wywołanym wydzielaniem się faz wtórnych ( najczęściej węglików ) z roztworu stałego.

W niskostopowych stalach Cr-Mo-V pęknięcia te powstają w gruboziarnistym obszarze SWC charakteryzującym się najczęściej iglastą strukturą bainityczno-martenzytyczną z pewną ilością austenitu szczątkowego. W trakcie procesu spawania w wyniku oddziaływania cyklu cieplnego spawania znaczna część węglików przechodzi do roztworu stałego, również granice ziaren pierwotnego austenitu wzbogacane są dodatkami stopowymi. W czasie nagrzewania do temperatury wyżarzania oraz w pierwszej fazie wyżarzania następuje wydzielanie się węglików. Proces ten prowadzi do znacznego utwardzenia wydzieleniowego wnętrza ziarna.

W procesie wyżarzania relaksacja naprężeń zachodzi drogą odkształcania materiału, w przypadku znacznego utwardzenia wydzieleniowego wnętrza ziaren odkształcenia te będą zachodzić po granicach ziaren. W warunkach obniżonej energii granic ziaren (np. w wyniku segregacji domieszek do granic ziarn) będzie dochodzić na styku trzech ziaren do powstawania tzw. pęknięć klinowych. Wydzielanie się węglików po granicach ziaren utrudnia poślizg ziaren względem siebie a tym samym podwyższa wytrzymałość struktury oraz obniża jej ciągliwość. Powstają wówczas warunki do zarodkowania pustek na cząstkach leżących w granicach ziaren a następnie do ich łączenia.


Schemat tworzenia się pęknięć pod wpływem powtórnego nagrzewania

Na przebieg pękania pod wpływem powtórnego nagrzewania istotny wpływ wywierają parametry technologiczne procesu spawania. Spawania z niską energią liniową sprzyja pękaniu poprzez znaczne przesycenie gruboziarnistej części SWC oraz wzrost naprężeń w złączu spawanym. Stosowanie podgrzewania wstępnego lub wyższych energii liniowych spawania powoduje obniżenie prędkości chłodzenia w SWC złącza spawanego a tym samym zmniejszenie przesycenia i obniżenie stanu naprężeń.

W celu wyeliminowania pęknięć pod wpływem powtórnego nagrzewania stosuje się nagrzewanie do temperatur 650 - 700°C dla stali ferrytycznych i ok. 1050°C dla stali austenitycznych a następnie szybkie chłodzenie po nagrzewaniu.

Czytaj dalej...